Vintage Jalousie Window Parts: A Guide

B.Defunctgames 70 views
Vintage Jalousie Window Parts: A Guide

Vintage Jalousie Window Parts: A Guide

Hey guys! So, you’ve got these cool, old jalousie windows, right? Maybe you inherited them, or you found a gem at a salvage yard. They’ve got that awesome retro vibe, letting in light and air like nothing else. But, let’s be real, finding vintage jalousie window parts can feel like searching for a needle in a haystack. These beauties aren’t exactly made anymore, and when things break, it can be a real headache. Whether it’s a crank that’s gone stiff, a slat that’s cracked, or a mechanism that’s just plain kaput, getting your hands on the right replacement parts is key to keeping these charming windows functional and looking sharp. We’re diving deep into the world of jalousie windows to help you find those elusive parts and bring your vintage windows back to life. It’s not just about aesthetics; it’s about preserving a piece of history and enjoying the unique benefits these windows offer. So, buckle up, fellow vintage enthusiasts, because we’re about to unlock the secrets to sourcing vintage jalousie window parts and keep your jalousie windows singing.

Understanding Your Jalousie Window

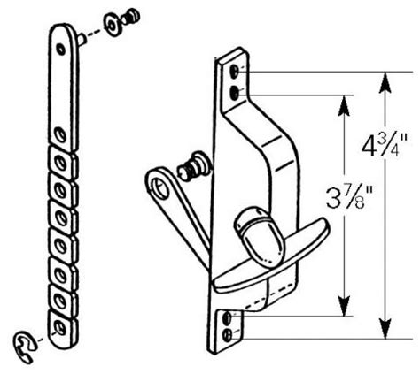
Before we even start hunting for vintage jalousie window parts , it’s super important to get familiar with your specific jalousie window. Think of it like diagnosing a car – you wouldn’t just buy random parts, right? You need to know what make and model you’re dealing with. Jalousie windows, bless their hearts, came in a few different designs and sizes over the years. The most common setup involves a series of horizontal glass or metal slats (that’s the ‘jalousie’ part, meaning ‘blinds’ in French, cool, huh?) held in a frame. These slats pivot open and closed, usually controlled by a hand crank mechanism. The tricky part is that the hardware, the cranks, the tracks, and even the slat holders, can vary quite a bit between manufacturers and eras. Some might have metal frames, others wood. Some have a smooth crank action, while others might feel a bit clunky. Understanding the exact type of jalousie window you have is your first mission. Take photos! Measure everything! Note any brand names or model numbers you can find etched or stamped anywhere on the frame, the mechanism, or even the glass. This intel is absolutely crucial when you’re on the hunt for vintage jalousie window parts . Don’t just assume all jalousie window parts are interchangeable. They’re not! Identifying the manufacturer, if possible, is like hitting the jackpot because it narrows down your search significantly. If there’s no visible brand, try to identify the style and era – are the slats glass or aluminum? What does the crank look like? Is it a fold-out type or a rotary crank? Every little detail helps paint a picture for the folks who might have those obscure parts you desperately need. Remember, the more information you gather about your specific window, the higher your chances of finding the exact vintage jalousie window parts required for a perfect fit and function. It’s the foundation of a successful restoration project, guys, so don’t skip this step!

Where to Find Vintage Jalousie Window Parts

Alright, you’ve got the intel on your window. Now, where do you actually find these mythical vintage jalousie window parts ? This is where the real treasure hunt begins! Your best bet is often the internet. Websites like eBay are goldmines for vintage hardware. You’ll find sellers who specialize in architectural salvage, antique window parts, or specific brands. Just be patient and use very specific search terms. Instead of just ‘jalousie parts,’ try ‘vintage jalousie window crank,’ ‘aluminum jalousie window slat,’ or the brand name if you found one. Another fantastic online resource is architectural salvage yards that have an online presence. Many of these places meticulously catalog their inventory, so you might be able to find exactly what you need without even leaving your couch. Don’t underestimate the power of forums and online communities dedicated to vintage homes, restoration, or specific window types. Post a picture and a detailed description of the part you need; you never know who might have a spare or know where to find one. Sometimes, a fellow enthusiast can point you in the right direction. Beyond the digital realm, hitting up local architectural salvage yards in person can be an adventure. You might have to dig through dusty bins, but the thrill of finding that perfect, long-lost piece is unbeatable! Visit flea markets and antique malls too – sometimes these parts pop up in unexpected places. If you’re lucky enough to live in an area with a lot of older homes, local salvage businesses catering to those specific architectural styles are your best friend. Vintage jalousie window parts are often available from these specialized dealers. Remember, persistence is key here. You might not find what you need on your first try, but keep looking, keep asking, and keep expanding your search. The reward of restoring your beautiful jalousie windows is totally worth the effort, guys!

Repairing vs. Replacing

When you’re dealing with a broken or worn-out component on your jalousie window, the big question always pops up: Should you try to repair the existing part, or is it time to find a replacement? This decision often hinges on a few factors, the most obvious being the availability of vintage jalousie window parts . If the part you need is incredibly rare or astronomically expensive, repairing the original might be your only viable option. Sometimes, a simple fix like cleaning and lubricating a stiff crank mechanism can breathe new life into it. Other times, a damaged slat might be repairable with a strong adhesive or a reinforcing bracket, especially if it’s a glass slat where replacement is tricky. However, let’s be honest, guys, not everything can be fixed. If the crank mechanism is stripped, a slat is completely shattered, or a vital piece of the operating hardware is missing and impossible to source, then you’re likely looking at replacement. The goal is to maintain the window’s functionality and aesthetic integrity. Repairing can sometimes be a more cost-effective solution, especially for minor issues. But if a repair compromises the window’s operation or its vintage charm, then hunting for vintage jalousie window parts and replacing the damaged component is the way to go. Always weigh the effort and cost of repair against the effort and cost of finding a suitable replacement. Sometimes, a clever DIY solution can work wonders, but other times, only an authentic part will do. Your mission is to get that window working smoothly and looking as original as possible, so choose the path that best serves that objective!

Common Jalousie Window Issues and Solutions

Let’s talk about the common headaches you might encounter with your vintage jalousie windows and how to tackle them, especially when it comes to sourcing vintage jalousie window parts . One of the most frequent offenders is the crank mechanism . Over time, these can become stiff, sticky, or just plain stop working. Often, a good cleaning with a degreaser, followed by lubrication with a silicone-based spray or white lithium grease, can solve the problem. If the gears inside are stripped or a piece is broken, you’ll need to find a replacement crank assembly. This is where knowing your window type becomes crucial for finding the right vintage jalousie window parts . Another common issue is with the slats themselves. They might be cracked, chipped, or even missing entirely. For minor cracks in glass slats, a clear epoxy might work for a temporary fix, but it’s often best to replace them. Aluminum slats can sometimes be straightened or patched, but finding matching replacements is ideal. If you’re missing slats, you’ll need to measure them precisely and search for ones of the same size and material. Worn or broken slat clips or shoes (the little pieces that hold the slats to the operating arms) are also notorious. These can become brittle and snap. Again, precise measurement and a good search for vintage jalousie window parts online or at salvage yards are your best bet. Sometimes, the weatherstripping around the window can degrade, leading to drafts. While not technically a ‘part’ in the mechanical sense, replacing old, cracked rubber or felt seals is essential for efficiency. You can often find suitable replacements at hardware stores, though you might need to adapt them slightly for older window designs. Finally, corrosion can be a major enemy, especially on metal frames or mechanisms. Regular cleaning and a protective coating (like a clear sealant or wax) can help prevent further damage. If corrosion is severe, you might need to sand it down and repaint or re-coat the affected areas. For all these issues, remember that vintage jalousie window parts are specific. Take clear photos of the broken part and its location within the window mechanism. This will be invaluable when communicating with sellers or seeking advice on forums. Don’t get discouraged; with a bit of detective work and the right resources, you can overcome most jalousie window woes!

Keeping Your Vintage Windows Shining

So there you have it, guys! Navigating the world of vintage jalousie window parts might seem daunting at first, but with a bit of knowledge, persistence, and the right resources, you can absolutely keep those charming windows in tip-top shape. Remember to always identify your specific window type, document everything, and be thorough in your search. Whether you’re browsing online marketplaces, visiting local salvage yards, or connecting with fellow enthusiasts, the key is patience and targeted searching. By understanding common issues and knowing where to look for those hard-to-find components, you’re well on your way to restoring the beauty and functionality of your vintage jalousie windows. Happy hunting, and enjoy the unique charm and airflow they bring to your home!